■一、用途
SRY2、SRY3型管状电加热器适用于敞开式或封闭式的油槽中加热 油用,SRY4型系列油电加热器用于加热流动或循环的油 SRY4型系列油电加热器表面负荷较高,只适用于油温度较低、传热效果好的油液中使用

二、作用说明
1、工作电压允许误差:不大于其额定值的1.1,外壳应接地。
2、工作环境:无爆炸性和腐蚀性气体。
3、融化沥青、石蜡等固体油类时应降低电压使用,等融化后再升至额定电压。以防止热量集中降低元件使用寿命。
4、必须保持出线端部干燥、清洁,以免造成表面闪烁或短路。
5、元件应存放在干燥处,若因长期放置而绝缘电阻将到低于1MΩ时,可在200℃左右的烘箱中干燥若干小时(或将元件低压通电数小时)即可恢复绝缘电阻。
6、SRY2型安装孔尺寸为Φ65mm,工作压力为6kg/cm2
规格及技术参数
型号
电压(V)
功率(KW)
外形尺寸(mm)
电热元件 支/台
重量
价格
A
B
SRY2-0.5-220
220V单相 串联
0.5
307
230
3
SRY2-1-220
220V单相 串联
1
307
230
2
SRY2-1-380
380V单相 串联
1
307
230
3
SRY2-2-220
220V单相 并联
2
507
430
2
SRY2-2-380
380V单相 并联
2
507
430
2
SRY2-3-220
220V单相 并联
3
707
630
2
SRY2-3-380
380V单相 并联
3
707
630
2
SRY2-4-220
220V单相 并联
4
922
845
2
SRY2-4-380
380V单相 并联
4
922
845
2
SRY4-5-220
220V单相 并联
5
697
620
2
SRY4-5-380
380V单相 并联
5
697
620
2
SRY4-6-220
220V单相 并联
6
807
730
2
SRY4-6-380
380V单相 并联
6
807
730
2
SRY4-8-220
220V单相 并联
8
1007
930
2
SRY4-8-380
380V单相 并联
8
1007
930
2
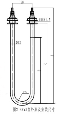
SRY3油用电加热元件
型号
电压(V)
功率(KW)
外形尺寸(mm)
重量
价格
A
B
C
SRY3-1-220
220V单相
1
625
375
570
SRY3-1-380
380V单相
1
625
375
570
SRY3-2-220
220V单相
2
825
575
770
SRY3-2-380
380V单相
2
825
575
770
SRY3-3-220
220V单相
3
925
675
870
SRY3-3-380
380V单相
3
925
675
870
SRY3-4-220
220V单相
4
1125
875
1070
SRY3-4-380
380V单相
4
1125
875
1070
◆ 工作电压允许误差:不大于其额定值的1.1,外壳应接地。
◆ 工作环境:相对湿度不大于95%,无爆炸和腐蚀性气体
◆ 金属管材料:10钢管、304不锈钢
◆ 高工作温度:SRY2、SRY3型为300℃,SRY4型为100℃
◆ SRY2、SRY4型的工作压力小于0.6MPa
◆ SRY2、SRY4的安装通径≥φ65
◆ SRY3型紧固件长度为25mm
其它表示SRY2-220/2
使用维护及注意事项
1、外形尺寸图中尺寸“B”必须全部浸入油中以免烧坏组件。被加热油应无腐蚀性。
2、SRY3型的工作液面必需在紧固件下,尺寸线"B"之上
3、 熔化沥青、石蜡等固态油类时应降低电压使用,等熔化后再升至额定电压。以防止热量集中降低元件使用寿命。
4、 发现管子表面有结炭时,必须除尽后再用,以免降低效率,甚至烧坏组件。
5、组件应存放在干燥处,若因长期放置而绝缘电阻降到低于1兆欧时,可在200℃左右的烘箱中干燥若干小时(或将组件低压通电数小时),即可恢复绝缘电阻。