本系列产品系常规的油加热用电加热器,可适用于多种工作环境,加热多种类型介质。
SRY2-1、SRY2-2型带安装螺栓放水管状电加热器适用于高精度稀油站油箱中加热油,SRY2-3型浸入式电加热器适用于封闭式油箱中加热油;
SRY5、SRY6、SRY8、SRYY6型下各种加热器既可用于液压、润滑装置中加热液压油和润滑油,也可用于加热无腐蚀性的气体或液体;
SRY7型直捧式加热器可配套我国重点工程项目,可用于200立方及300立方稀油站;
SRY9型护套式加热器安装有温度控制调节器,加热芯与电热护套分离,维修方便,性能稳定。
一、用途:
SRY7直捧式管状电加热元件适用于配套国家重点工程项目,300立方及200立方稀油站用。
二、SRY7直捧式管状电加热器主要技术参数:
额定电压: 三相380V
表面发热功率:≤1.2cm2
工作压力: 0.63Mpa
工作介质: 硫磷工业齿轮极压油
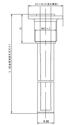
三、SRY7直捧式管状电加热器外形尺寸图:
